【液壓角式快開排泥閥用途】
安裝在各類沉淀的底部壁外,用以排除池底的泥沙及污物。
【液壓角式快開排泥閥工作原理及性能】
本產品由液壓缸和角式截止閥紐合而成,液壓缸內動力帶動閥瓣升降,使閥體通道開或閉,以
達到流體通斷。
液壓缸的活塞密封件為L型皮碗,其密封性能好,經久耐用。閥瓣與閥座為軟密封,密封性能
好,無泄露。采用電動二位四通換向閥或手動二位四通換向閥集中控制,操作方便。
【液壓角式快開排泥閥主要技術參數】
1、公稱壓力:1.0Mpa
2、液壓缸工作介質:清水、氣
3、液壓缸工作壓力:0.15-1.0Mpa
4、介質溫度:0-80 ℃
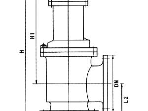
【液壓角式快開排泥閥結構圖】


【液壓角式快開排泥閥主要連接尺寸】
DN |
80 |
100 |
150 |
200 |
250 |
300 |
350 |
400 |
H |
480 |
500 |
620 |
735 |
805 |
940 |
1100 |
1200 |
L1 |
135 |
145 |
175 |
225 |
260 |
280 |
305 |
340 |
L2 |
125 |
125 |
145 |
185 |
205 |
245 |
270 |
310 |