【高密封取樣閥概述】
高密封取樣閥取樣管分有直管GMJ11F/H的和彎管GMJ14F/H的,安裝拆卸方便、連接緊固,是需要取樣測量管路系統中重要組成部分,扭矩低、輕便又易于操作,密封性能好等特點。
【高密封取樣閥技術規范】
☆閥門型號:彎管GMJ14F/H、直管GMJ11F/H;
☆工作壓力:≤32MPA;
☆使用溫度:-20℃~+200℃;
☆規格尺寸:DN6 M20×1.5-G1/2;
☆連接形式:內螺紋連接;
☆結構特征:軟硬雙密封,活動閥瓣;
☆閥體材質:不銹鋼等;
☆適用介質:水、油、氣等腐蝕性與非腐蝕性介質;
☆制造標準: GB/T12224-2005、JB/T7747-1995;
☆閥門檢測及試驗標準:GB/T13927-1992;
【高密封取樣閥試驗標準(單位Unit:MPa)】
|
試驗項目TESTITEM |
壓力值PRESSURE VALVE |
|
公稱壓力 Nominal Pressure |
25 |
|
殼體試驗 Shell Test |
37.5 |
|
密封試驗 Test |
27.5 |
|
氣壓試驗 Air Pressure Test |
0.9 |
|
適用溫度 Suitable Temperatue |
≤250℃ |
|
適用介質 Suitable Medium |
水、蒸汽、油品等Water,Steam,Oilgoods |
【高密封取樣閥零部件材料】
|
型號
TYPE |
閥體 BODY |
接頭 TIE-IN |
閥桿 VALVE HANDLE |
螺帽 SCREWCAP |
填料 PACKING |
|
GMJ11F/H-250II
GMJ14F/H-250II |
20# |
20# |
2Cr13 |
20# |
柔性石墨、四氟 Leslble graphite |
|
GMJ11F/H-250PII
GMJ14F/H-250II |
304SS |
304SS |
304SS |
304SS |
柔性石墨、四氟 Leslble graphite |
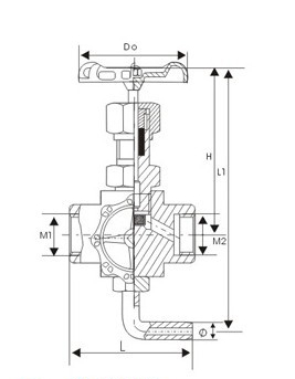
【高密封取樣閥外形圖】

【GMJ14F/H-250高密封取樣閥外形連接尺寸】
|
規格SPECIF ICATION |
M1 |
M2 |
H |
|
DN6 |
G1/2 |
M20×1.5 |
110 |
【GMJ11F/H-250高密封取樣閥外形連接尺寸】
|
規格SPECIF ICATION |
M1 |
M2 |
Φ |
L |
L1 |
H |
Do |
|
DN6 |
M20×1.5 |
G1/2 |
Φ10 |
70 |
153 |
110 |
60 |
正鋼溫馨提示:
1、請在訂貨時提供詳細型號、壓力、口徑、材質、介質、溫度、交貨地、交貨時間。
2、對針型閥的連接方式:可選用螺紋(內螺紋或外螺紋)法蘭式,焊接式等。
3、正鋼專業為您打造適合您的針型閥產品,歡迎您的來電(☏:400-6868-625)或瀏覽正鋼官方網站http://www.cbazwhy.cn